Противотаранный боллард ЦеСИС ДАБР.425729.083 cтационарный, 754 мм
Противотаранный боллард ЦеСИС ДАБР.425729.083 — это стационарный металлический столб, предназначенный для организации безопасного и упорядоченного движения транспортных и пешеходных потоков. Он эффективно используется для зрительного ориентирования участников дорожного движения, отделения тротуара от проезжей части, а также для ограничения доступа автотранспорта на прилегающие территории. Благодаря прочной конструкции и антикоррозионному покрытию, изделие рассчитано на долгий срок службы в различных климатических условиях.
Боллард выполнен из высококачественной стали и имеет лаконичный, эстетичный внешний вид, гармонично вписывающийся в городскую архитектуру. Конструкция рассчитана на эксплуатацию в климатическом исполнении УХЛ1 по ГОСТ 15150–69, что позволяет использовать изделие на всей территории России. Высота над поверхностью составляет 754 мм, чего достаточно для обеспечения визуального и физического ограничения проезда. Прочный корпус выдерживает воздействие осадков, перепадов температур и механических нагрузок, сохраняя свои эксплуатационные качества на протяжении всего срока службы.
Стационарный боллард ДАБР.425729.083 прост в монтаже и не требует сложного обслуживания. Он широко применяется при благоустройстве городских территорий, обустройстве пешеходных зон, парков, площадей и придомовых участков. Изделие соответствует нормативным требованиям по безопасности и антитеррористической защищенности, утвержденным Постановлением Правительства РФ № 1046 от 03.08.2024, что подтверждает его соответствие современным стандартам надежности и качества.
Особенности
- Стационарная конструкция для долговременной эксплуатации.
- Корпус из прочной стали с антикоррозионным покрытием.
- Высота 754 мм обеспечивает визуальное разграничение зон движения.
- Соответствие требованиям ГОСТ 15150–69 (исполнение УХЛ1).
- Подходит для использования в любых климатических зонах РФ.
- Не требует подключения к электропитанию и технического обслуживания.
Преимущества
- Простота монтажа и эксплуатации.
- Долговечность и устойчивость к коррозии.
- Эстетичный внешний вид, подходящий для городской инфраструктуры.
- Соответствие Постановлению Правительства РФ № 1046 от 03.08.2024.
- Возможность использования для разграничения территорий и защиты пешеходных зон.
- Срок службы — не менее 10 лет.
Недостатки
- Не обеспечивает подвижного механизма для временного открытия проезда.
- Требует установки в подготовленный бетонный цоколь.
- Не предназначен для полной противотаранной защиты от тяжелого транспорта.
Технические характеристики:
Общие параметры- Обозначение: ДАБР.425729.083
- Тип конструкции: Стационарный боллард
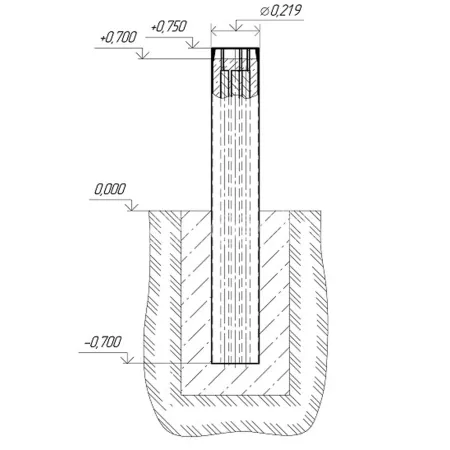
- Диаметр столба, мм: 219
- Высота над уровнем грунта, мм: 754
- Глубина цоколя, мм: 700
- Климатическое исполнение по ГОСТ 15150–69: УХЛ1
- Масса изделия, кг: 39,5
- Срок службы, лет: 10
- Постановление Правительства РФ от 03.08.2024 № 1046 — «Об утверждении Требований обеспечения безопасности и антитеррористической защищенности объектов топливно-энергетического комплекса»
Бренд | ЦеСИС |
Тип болларда | Стационарный |
Тип привода | Без привода |
Конструкция | Противотаранный |
Подсветка | Светоотражающие полосы |
Высота болларда, мм | 754 |
Диаметр болларда, мм | 219 |
Габариты | 700х700х1250 мм |
Вес, кг | 40 |
Рабочая температура | от -60°C до +40°C |
Гарантия | 1 год |
Страна производства | Россия |
Функция «Быстрый заказ» позволяет покупателю не проходить всю процедуру оформления заказа самостоятельно. Вы заполняете форму, и через короткое время вам перезвонит менеджер магазина. Он уточнит все условия заказа, ответит на вопросы, касающиеся качества товара, его особенностей. А также подскажет о вариантах оплаты и доставки.
По результатам звонка, пользователь либо, получив уточнения, самостоятельно оформляет заказ, укомплектовав его необходимыми позициями, либо соглашается на оформление в том виде, в котором есть сейчас. Получает подтверждение на почту или на мобильный телефон и ждёт доставки.
Оформление заказа в стандартном режиме
Если вы уверены в выборе, то можете самостоятельно оформить заказ, заполнив по этапам всю форму.
Заполнение адреса
Выберите из списка название вашего региона и населённого пункта. Если вы не нашли свой населённый пункт в списке, выберите значение «Другое местоположение» и впишите название своего населённого пункта в графу «Город». Введите правильный индекс.
Доставка
В зависимости от места жительства вам предложат варианты доставки. Выберите любой удобный способ. Подробнее об условиях доставки читайте в разделе «Доставка».
Оплата
Выберите оптимальный способ оплаты. Подробнее о всех вариантах читайте в разделе «Оплата»
Покупатель
Введите данные о себе: ФИО, адрес доставки, номер телефона. В поле «Комментарии к заказу» введите сведения, которые могут пригодиться курьеру, например: подъезды в доме считаются справа налево.
Оформление заказа
Проверьте правильность ввода информации: позиции заказа, выбор местоположения, данные о покупателе. Нажмите кнопку «Оформить заказ».
Наш сервис запоминает данные о пользователе, информацию о заказе и в следующий раз предложит вам повторить к вводу данные предыдущего заказа. Если условия вам не подходят, выбирайте другие варианты.
Если Вы хотите узнать об условиях доставки и оплаты, но не желаете о них читать, то Вы можете позвонить любому нашему сотруднику, и он обязательно Вам поможет.
Покупка за безналичный расчет
При оплате за безналичный расчет наш сотрудник свяжется с Вами, чтобы подтвердить заказ и уточнить сроки и адрес доставки. После оформления заказа сотрудник нашей компании вышлет вам счет, по которому необходимо будет произвести оплату.
После оплаты заказа к Вам приедет наш курьер, который доставит ваш заказ.
Самостоятельно забрать заказ из пунктов самовывоза Вы можете после его оплаты по безналичному расчету. Оплата доставки до пунктов выдачи транспортных компаний производится по тарифам выбранной Вами транспортной компании непосредственно в месте получения заказа.
Самовывоз из офиса нашей компании в Зеленограде, так же возможен после предоплаты по безналичному расчету, и предварительной договоренности с менеджером.
Интернет-магазин выполняет доставку любого товара своей собственной Службой доставки.
Стоимость доставки курьером
Стоимость доставки по Москве, Все товары —750 руб., бесплатная доставка от 25000 руб
Стоимость доставки по Московской области рассчитывается для каждого заказа индивидуально и зависит от суммарного веса товаров заказа и удаленности адреса доставки.
Время доставки
Время доставки согласовывается с менеджером Службы доставки, который обязательно свяжется с вами сразу после того, как вы разместите свой заказ.
Для осуществления доставки в регионы России мы пользуемся услугами компаний СДЭК, ЖелДорЭкспедиция, Автотрейдинг, Деловые Линии. В таком случае, указанными кампаниями взимается стоимость доставки по их внутренним тарифам с заказчика при получении товара.
Самовывоз
Забрать товар самостоятельно и абсолютно бесплатно можно только по адресу: Москва, Зеленоград, Панфиловский проспект, дом 10.
Забрать товар самовывозом можно по любому из адресов самовывоза указанных здесь, стоимость доставки до пункта самовывоза рассчитывается для каждого заказа по тарифам транспортных компаний.





